Script = https://s1.trrsf.com/update-1770314720/fe/zaz-ui-t360/_js/transition.min.js
PUBLICIDADE

Microsoft Surface Pro 7 pode finalmente ter conectividade USB-C

Patente indica que híbrido da empresa voltado para a produtividade finalmente vai adotar modelo atua...

27 mai 2019 - 12h07
Compartilhar

A Microsoft pode finalmente abraçar o USB-C na próxima edição do seu dispositivo híbrido voltado para produtividade. Segundo algumas informações obtidas pelo site alemão Windows United, o futuro Surface Pro 7 terá conectividade USB-C.

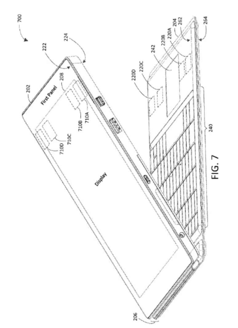
O site analisou uma patente recentemente registrada pela fabricante que indica a chegada — talvez um dos maiores pedidos dos fãs, que já esperavam o recurso no Surface Pro 6. A entrada não elimina outras portas já existentes, que no caso do modelo seriam USB tradicional e DisplayPort.

Entretanto, a entrada Surface Connect, não é mais visível no desenho, o que significa que o USB-C pode servir também para carregar o aparelho. Confira a imagem:

Foto: TecMundo

Mais novidades

Outra adição interessante é a de novos ímãs na Type Cover e no aparelho. Essa trava deixaria o aparelho mais seguro quando fechado, como durante o transporte para algum lugar, por exemplo. Por enquanto, não há indicativos de que o resto da linha vá adotar também o USC-C na próxima geração, caso do Surface Book e do Surface Laptop.

Vale lembrar que o registro de patentes não significa que a ideia será de fato colocada em prática, mas a adoção a esse padrão da indústria parece cada vez mais inevitável para  a Microsoft. Fique de olho no TecMundo para mais novidades sobre os próximos Surface.

TecMundo
Compartilhar
TAGS
Publicidade

Conheça nossos produtos

Seu Terra