Script = https://s1.trrsf.com/update-1765905308/fe/zaz-ui-t360/_js/transition.min.js
PUBLICIDADE

Patente da Apple descreve telas como espelhos inteligentes

18 jun 2018 - 07h55
Compartilhar
Exibir comentários

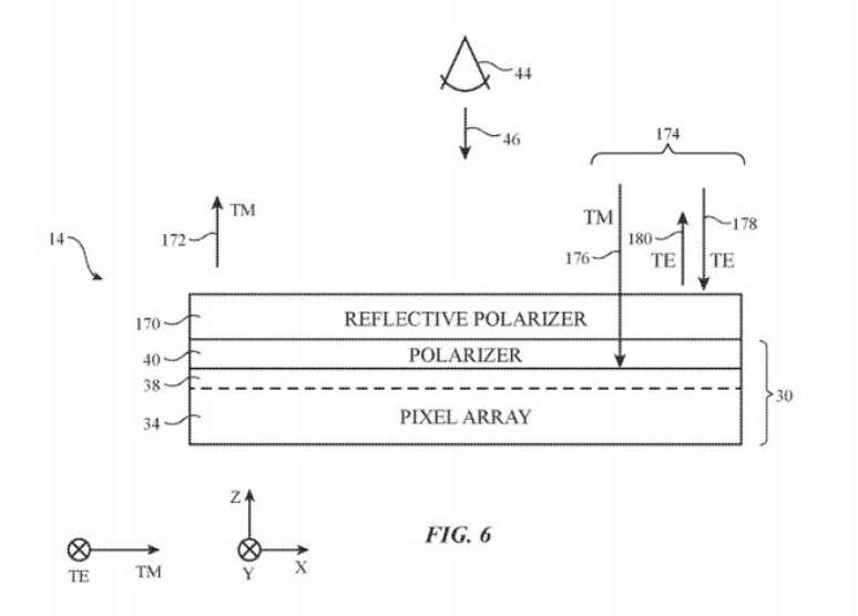
Uma patente registrada pela Apple, publicada na última quinta-feira (14) pelo órgão responsável por patentes nos Estados Unidos, descreve um "dispositivo eletrônico com tela reflexível ajustável". Traduzindo para o português, isso significa que as telas da Apple poderão funcionar como espelho inteligente — ou um espelho, quando o dispositivo estiver desligado.

O desenho da patente exibe uma camada extra que fica logo após os pixels e que seria incluída na fabricação de todo o painel. A camada pode ser produzida a partir de polarizadores lineares e reflexivos, uma camada de cristal líquido para controlar o nível da polarização e outra camada polarizada que utiliza tanto cristal líquido e moléculas de corante dicróicas.

Patente descreve espelho inteligente (Imagem: Reprodução)
Patente descreve espelho inteligente (Imagem: Reprodução)
Foto: Canaltech

A patente ainda garante que essas camadas extras podem ser controladas para liberar mais ou menos luz, além de algumas partes do display poderem controlar a luz de forma independente. Por fim, a interação com a tela seria feita por reconhecimento facial, de olhos, gestos e até movimento da cabeça.

Traduzindo novamente: o usuário poderá mover a imagem exibida com os olhos, ou então o sistema que controla o que é exibido pode entender o tempo que a pessoa olha para certa área.

Vale lembrar que a Apple costuma registrar diversas patentes por mês, com poucas delas chegando até o mercado como um produto de verdade. Patentes são registradas mesmo com pouca aplicação, já que garantem a segurança de que, legalmente, nenhuma empresa pode fazer algo igual.

Canaltech Canaltech
Compartilhar
TAGS
Publicidade

Conheça nossos produtos

Seu Terra












Publicidade