Script = https://s1.trrsf.com/update-1765224309/fe/zaz-ui-t360/_js/transition.min.js
PUBLICIDADE

Nova patente da Apple descreve conector Lightning à prova d'água

9 mar 2018 - 14h03
Compartilhar
Exibir comentários

Os modelos mais recentes da linha iPhone (desde a edição 7, para ser mais exato) já oferecem um nível satisfatório de proteção contra poeira e água, mas tudo indica que a Apple pretende aprimorar ainda mais esse quesito em seus próximos lançamentos. Uma curiosa patente registrada pela Maçã em março de 2017 (mas descoberta só agora pelo Patently Apple) revela que a companhia teve a ideia de criar uma conexão Lightning totalmente vedada contra a entrada de líquidos.

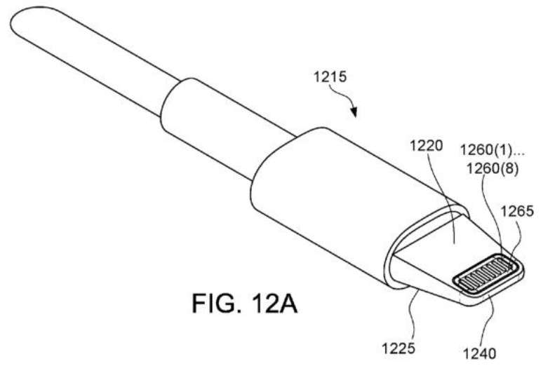
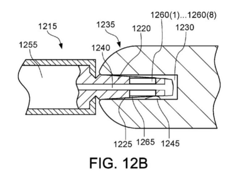
As ilustrações e textos técnicos descrevem uma porta com uma vedação flexível que se expande para revelar os conectores metálicos apenas quando o cabo estiver inserido. O fio, por outro lado, também sofreria uma alteração em seu design, tendo a forma de uma cunha (com a base maior do que a ponta, mais ou menos como uma chave de fenda). Também foi registrada uma variante convencional, com o mesmo design que já conhecemos desde 2012.

Cabo possuiria uma ponta na forma de uma "chave de fenda" (Reproduão: Patently Apple)
Cabo possuiria uma ponta na forma de uma "chave de fenda" (Reproduão: Patently Apple)
Foto: Canaltech

Vale lembrar que, desde que a Apple retirou a entrada para fones de ouvido no iPhone 7, a conexão Lightning é a única fissura que separa o mundo exterior dos componentes internos dos smartphones. Sendo assim, não ficaríamos surpresos caso a fabricante esteja realmente pensando em dar um jeito de tornar tal porta mais segura. Visto que os próximos iPhones devem focar no carregamento sem fio, essa estratégia seria inteligente.

Conexão vedada aumentaria a proteção dos iPhones (Reprodução: Patently Apple)
Conexão vedada aumentaria a proteção dos iPhones (Reprodução: Patently Apple)
Foto: Canaltech

Obviamente, não podemos afirmar que tal patente se tornará realidade — a Maçã é famosa por registrar muitas ideias e deixá-las na gaveta. Ainda assim, é uma teoria bem bacana que vale a pena ter em mente.

Canaltech Canaltech
Compartilhar
TAGS
Publicidade

Conheça nossos produtos

Seu Terra












Publicidade